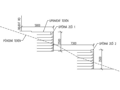
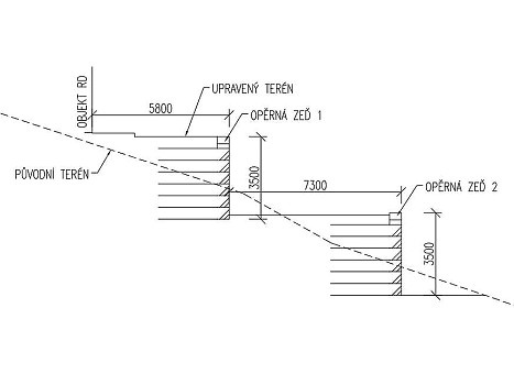
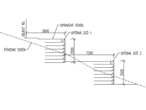
Řícmanice, mury oporowe do wyrównania terenu na stoku

Podczas budowy domu jednorodzinnego na pochyłym terenie w miejscowości Řícmanice wykonano w ramach prac ziemnych dwie tarasy. Tarasy te są podparte murami oporowymi z gruntu zbrojonego.

Pliki „cookies” pomagają Wam i nam

My, GEOMAT s.r.o., denimy sobie Państwa zgodę na wykorzystanie plików cookies, abyśmy mogli uprzyjemnić Państwa zakupy na naszej stronie internetowej, ułatwić wiele kroków zawiązanych z procesem zakupu a sami mogli się udoskonalać. Klikając na „OK, zagadzam się“, wyrażasz zgodę na przechowywanie plików cookies w Twojej przeglądarce, abyś mógł w pełni wykorzystać potencjał strony internetowej. Szczegóły znajdziesz na stronie „Informacje o cookies“.